PTFE-Spritzschutz für Flansche
Anwendung – Gefahrstoffe
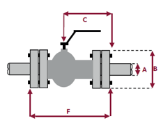
- Nennweiten: DN 10 … DN 600 / ANSI 1/4″ … 24″
- Druckstufen: DIN PN 6 … PN 40 / ANSI 150 lbs … 600 lbs
- Sonstiges:
- Pmax.: 64 bar
- Tmax.: 230 °C
- Werkstoff: PTFE, Teflon, glasfaserverstärkt
Beschreibung
PTFE – Spritzschutzmanschetten
Der PTFE Spritzschutz für Flansche oder auch Sicherheitsmanschette genannten Spritzschutzlösungen ist gegen nahezu alle aggressiven Chemikalien (inkl. ätzender, hoch-konzentrierter Schwefelsäure) beständig und somit universell einsetzbar.
PTFE Spritzschutzmanschetten werden vorwiegend für Säuren, Laugen, Lösungsmittel, Kraftstoffe, Schmierstoffe und Öle eingesetzt. Neben der Absicherung von Flanschverbindungen werden die PTFE Spritzschutzmanschetten zum Schutz für eine breite Palette von Rohrverbindungen, Armaturen, Ventilen, Pumpen, Kompensatoren und Schläuchen eingesetzt.
Qualitätsmerkmale:
- Glasfaser verstärkter Teflonkern
Unsere PTFE Spritzschutzmanschetten sind mit einem Teflon getränkten Glasfaserkern verstärkt. Das erlaubt den sicheren Einsatz auch bei höheren Drücken. Unter Druck austretendes Medium kann sich nicht durch diese Einlage bohren. Diese Spritzschutzmanschetten sind sicher. - Teflon ummantelte Glasfaser Zugschnüre
Diese Zugschnüre sind chemisch beständig, stabil und können sich nicht vollsaugen wie z.B. Bauwollschnüre. - UV-beständig & langlebig
- Vielseitig, & wiederverwendbar
Die PTFE-Spritzschutzmanschetten können zu Inspektionszwecken leicht und ohne Werkzeug entfernt und wieder montiert werden. Im Schadensfall genügt eine entsprechende Reinigung, danach sind die Spritzschutzmanschetten wieder einsetzbar. - Sonderausführung
Maßgeschneiderte Spritzschutzlösungen – Unsere Fertigung kann Spritzschutzlösungen in nahezu jeder Form herstellen. Ob spezielle Passform, Ausschnitte für Bedienelemente bei Ventilen oder Klappen. Fragen Sie uns!
Technische Daten:
Das PTFE Gewebe ist mit Teflon Faden (Optional Kevlar) vernäht
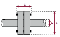
- Nennweiten: DN 20 … DN 1000 / ANSI 1/2″ … 24″
- Druckstufen: DIN PN 6 … PN 64 / ANSI 150 lbs … 600 lbs
- Sonstiges:
- Tmax.: 230 °C
- Werkstoff: PTFE, glasfaserverstärktes Teflon
Spezielle Anwendungen – Bitte fragen Sie uns!
Wir fertigen Spritzschutzlösungen für Armaturen, Ventile und sonstige Einbauten auf Maß.
Schreiben Sie uns sales@flangeguards.de oder rufen Sie uns einfach an. Telefon 069/153 257 970
Montage
Für die Montage unserer Flangeguards® Spritzschutzmanschetten wird kein Werkzeug benötigt.
An den Längsseiten des Gewebes ist parallel zu den Außenkanten jeweils eine Befestigungsschnur angebracht. Die Klettverschlüsse am Ende der Manschette fixieren die Sicherheitsmanschette während die Befestigungsschnüre gespannt werden.

Wickeln Sie die Manschette fest um den Flansch

Fixieren Sie diese mit dem Klettverschluss . Ist die Manschette auf dem Flansch fixiert, ziehen Sie auf einer Seite die Schnurenden fest zusammen

Wickeln Sie die Enden ein-oder zweimal um das Rohr. Anschließend verknoten Sie diese mit einem Doppel3– oder Kreuzknoten3. Wiederholen Sie diesen Vorgang auf der anderen Seite. Die Manschette ist jetzt montiert.

Achtung: Schneiden Sie die Befestigungsschnüre nicht ab, sondern stecken Sie diese einfach zwischen Flansch und Manschette
Die Manschette kann jederzeit, auch nach einem Schadensfall demontiert, gereinigt und wiederverwendet werden.





