PTFE-transparent Spritzschutz für Flansche
Anwendung – Gefahrstoffe
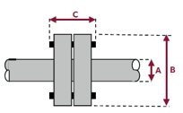
- Nennweiten: DN 10 … DN 600 / ANSI 1/4″ … 24″
- Druckstufen: DIN PN 6 … PN 25 / ANSI 150 lbs … 600 lbs
- Sonstiges:
- Pmax.: 24 bar
- Tmax.: 150 °C
- Werkstoff: PTFE, ECTFE, glasfaserverstärktes Teflon
Beschreibung
PTFE transparent – Spritzschutzmanschetten
Diese transparenten Spritzschutz- oder auch Sicherheitsmanschetten verfügen über einen breiten klaren ECTFE Mittelstreifen, der volle Einsicht gewährleistet. Das Material ist UV-beständig und wird nicht milchig.! Die verwendeten Werkstoffe sind nahezu gegen alle aggressiven Chemikalien (inkl. ätzender, hoch-konzentrierter Schwefelsäure) beständig.
PTFE klar Spritzschutzmanschetten werden vorwiegend zum Schutz von Armaturen, Ventilen, Pumpen, Kompensatoren und Schläuchen eingesetzt. Eine hohe Schutzfunktion, gute chemische Beständigkeit und der Einblick durch den transparenten Streifen erlauben visuelle Inspektion oder das Ablesen von Anzeigen ohne das die Manschette entfernt werden muss.
Qualitätsmerkmale:
- Glasfaser verstärktes Glasfasergewebe
Unsere PTFE Spritzschutzmanschetten sind mit einem Teflon getränkten Glasfaserkern verstärkt. Transparenter Streifen aus ECTFE, langzeitstabil wird auch nicht durch UV Einstrahlung milchig. - Teflon ummantelte Glasfaser Zugschnüre
Diese Zugschnüre sind chemisch beständig, stabil und können sich nicht vollsaugen wie z.B. Baumwollschnüre - UV-beständig & langlebig
- Vielseitig, & wiederverwendbar
Die PTFE klar Spritzschutzmanschetten sind wiederverwendbar. Nach einem Schadensfall genügt eine entsprechende Reinigung. - Sonderausführung
Maßgeschneiderte Spritzschutzlösungen – Unsere Fertigung kann Spritzschutzlösungen in nahezu jeder Form herstellen, ob spezielle Passformen, Ausschnitte für Bedienelemente bei Ventilen oder Klappen oder ein einfacher Ablaufnippel benötig wird – fragen Sie uns!
Technische Daten:
Das PTFE-Gewebe ist mit Teflon Faden (Optional Kevlar) vernäht.
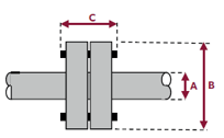
- Nennweiten: DN 10 … DN 600 / ANSI 1/4″ … 24″
- Druckstufen: DIN PN 6 … PN 25 / ANSI 150 lbs … 600 lbs
- Sonstiges:
- Tmax.: 150 °C
- Werkstoff: PTFE, ECTFE
Spezielle Anwendungen – Bitte fragen Sie uns!
Wir fertigen Spritzschutzlösungen für Armaturen, Ventile und sonstige Einbauten auf Maß.
Schreiben Sie uns sales@flangeguards.de oder rufen Sie uns einfach an. Telefon 069/153 257 970



